Grundidee des Projekts ist die Einhaltung der natürlichen Wasserbilanz in Siedlungsgebieten, um die weithin bekannten Nachteile durch Flächenversiegelung zu vermeiden. Dies sind im Regelfall
• verringerte Grundwasserneubildung
• Verschärfung der Hoch- und Niedrigwasserabflüsse im Gewässer sowie
• Änderungen im Kleinklima (geringere Verdunstung, Erwärmung und Staubbildung).
Zur Einhaltung bzw. zur weitgehenden Annäherung an die natürliche Wasserbilanz werden als Ergänzung oder Alternative zu Ableitung und technischem Rückhalt zunehmend Konzepte der sogenannten naturnahen Regenwasser-bewirtschaftung in Baugebieten gefordert. Diese können folgende Maßnahmen (bzw. –kombinationen) umfassen
• Entsiegelung
• Versickerung
• Dachbegrünung
• Dacheinstau
• Regenwassernutzung.
Hinsichtlich dieser Einzelmaßnahmen beschränkt man sich in der Praxis derzeit aber weitgehend auf die Umsetzung von Versickerungsmaßnahmen. Dies hat vor allem wirtschaftliche Gründe, da die so "abgekoppelten" Flächen bei der hydraulischen Bemessung von Kanalisationsanlagen nicht in Rechnung gestellt werden müssen. Wie in Sartor (2002) näher beschrieben, lässt sich mittels einfacher Bilanzrechnungen zeigen, dass aufgrund der weitgehend entfallenden Verdunstungskomponente durch solche reinen Versickerungsmaßnahmen im Jahresmittel dem Untergrund (je nach Flächennutzung vor der Bebauung) zwischen dem 2- und 7-fachen der natürlichen Mengen zugeführt wird. Es gibt Beispiele ausgeführter Versickerungsanlagen die funktionieren und solche, die es aus dem genannten oder anderen Gründen (z.B. Bodenverdichtung während des Baus) nicht tun. Im Versagensfall können die direkt spürbaren Folgen für die An- und Unterlieger von allgemeiner Bodenvernässung bis zu Hangrutschungen reichen.
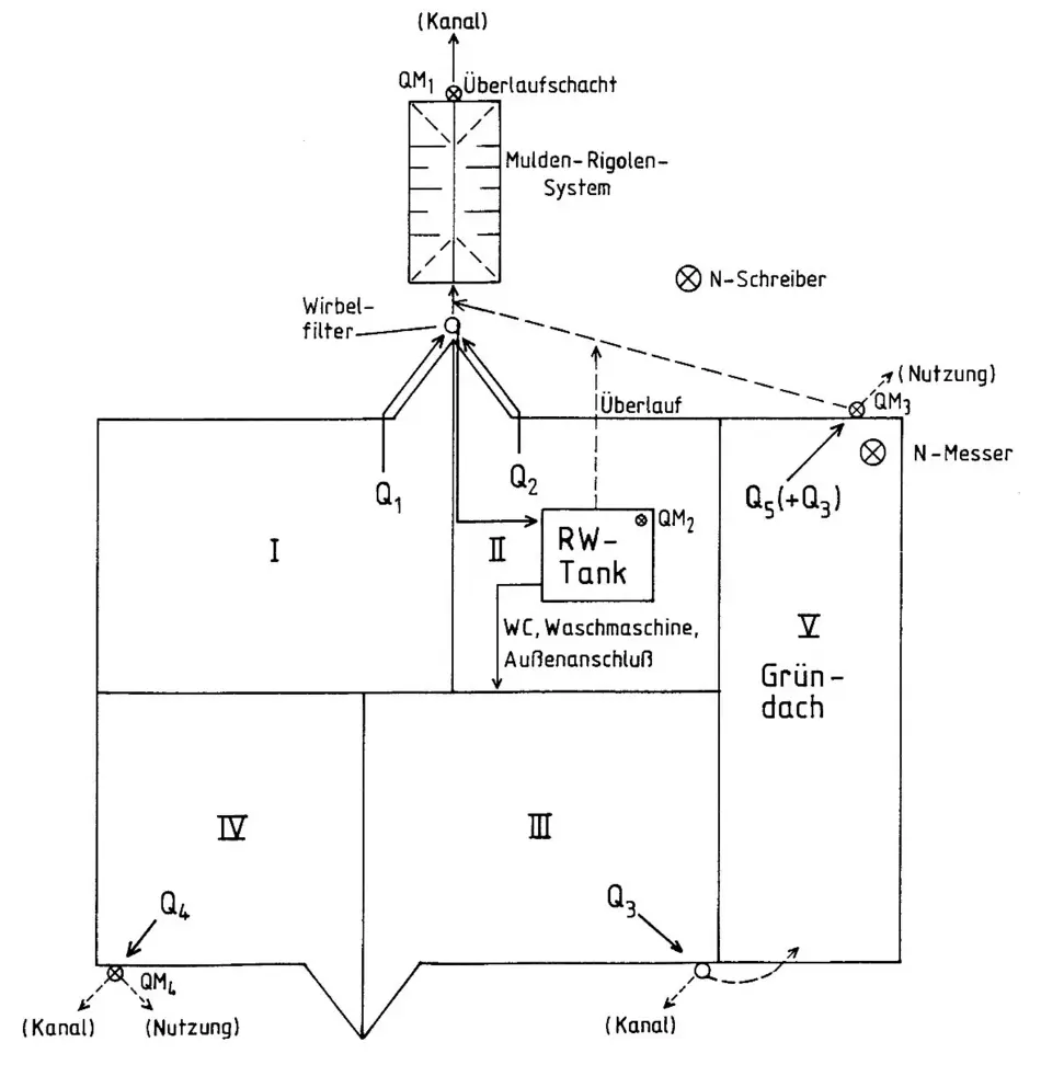
Die Komponenten einer Regenwasserbewirtschaftung, die auf eine Einhaltung der natürlichen Wasserbilanz abzielt, wurden vom Verfasser von September 1997 bis Ende 2012 in einem relativ aufwendigen Messprogramm untersucht. Gemäß Abb. 1 besteht die Anlage (Einfamilienhaus) aus Regenwassernutzung und Gründach, deren Überläufe einer Versickerungsanlage (Mulden-Rigolen-System) zugeführt werden. Beispielsweise durch die Umlenkung von Steildachabflüssen auf das Gründach waren verschiedene Versuchsanordnungen möglich. Sowohl Niederschlag (N) wie auch Abflüsse (Q) wurden an mehreren Schnittstellen messtechnisch erfasst.
Seit 2014 erfolgt eine Zusammenarbeit mit der italienischen Partneruniversität Salerno, da in Italien noch wenige Erfahrungen zu dieser Problematik vorliegen. Aufgrund spektakulärer Starkregenereignisse besteht dort hierzu jedoch ein großer Bedarf.
Ein praktisches Problem bei den eingangs erwähnten Abkopplungsmaßnahmen in Bestandsgebieten liegt oft darin, dass zwar die von der Straße abgewandten Dachteile (Steildachhälfte I gemäß Abb. 4) höhenmäßig an Versickerungsvorrichtungen in rückwärtig gelegenen Gärten oder sonstigen Grünflächen anschließbar sind. Dagegen ist es häufig schwierig, das auf den zur Straßenseite geneigten Dachteilen anfallende Regenwasser mit vertretbarem Aufwand solchen Versickerungsanlagen zuzuführen. Handelt es sich um Ein- oder Zweifamilienhäuser mit seitlichem Anbau einer Garage oder eines Carports, die mit einem Flachdach ausgestattet sind, so bietet sich die Möglichkeit, das Regenwasser des Steildachs über solch ein i.d.R. tiefer gelegenes Flachdach auf die Gebäuderückseite und damit einer Versickerung zuzuführen. In diesem Fall bietet sich dann ganz besonders die Ausbildung des Flachdachs als Gründach an, womit sich u.a. der Vorteil einer teilweisen Regenwasserverdunstung und damit einer Annäherung an die natürliche Wasserbilanz ergibt. Für die Bemessung der Versickerungsanlage stellt sich unter solchen Bedingungen dann die Frage, inwieweit eine Reduktion des von den zusätzlichen Steildachflächen stammenden Regenwassers (QST bzw. ΔQ gemäß Abb. 4) durch Verdunstung (ΔE) auf dem Gründach in Rechnung gestellt werden kann.
Aufbauend auf den Erkenntnissen und den zugehörigen Softwareentwicklungen aus u.a. den Abschlussarbeiten Gottesch&Zimmer (2002), Nilles (2003), Wendling (2010) und Stürmer (2012), die mittels der vorhandenen Datenreihen gewonnen wurden, erfolgt seit 2014 die eingangs erwähnte Zusammenarbeit mit der italienischen Universität Salerno. Diese konzentriert sich auf die potentielle Abflussreduzierung bei Starkregenereignissen durch die Umwandlung vorhandener, konventioneller Dachflächen in Gründächer. Details und erste Ergebnisse finden sich in Mobilia et al (2014).

Gottesch, G.; Zimmer, M: Bewertungskriterien für Konzepte der naturnahen Regenwasserbewirtschaftung. (Unveröffentlichte) Diplomarbeit an der Fachhochschule Trier, 2002
Mobilia, M.; Longobardi, A.; Sartor, J.: Impact on green roofs on stormwater runoff coefficients in a Mediterranean urban enviroment. Beitrag zur Konferenz USCUDAR'14, Florenz, 2014
Mobilia, M.; Longobardi, A.; Sartor, J.: Green roofs hydrological performance under different climate conditions. WSEAS Transactions on Environment and Development, 2015 (http://wseas.org/wseas/cms.action?id=10179)
Nilles, S.: Aspekte der naturnahen Regenwasserbewirtschaftung. (Unveröffentlichte) Diplomarbeit an der Fachhochschule Trier, 2003
Sartor, J.: Ist die Regenwasserversickerung von bebauten Flächen wirklich naturnah? Wasser und Abfall, Heft 7-8, 2002
Stürmer , C.: Regenwasserbewirtschaftung zur Entlastung der Kanalisation. (Unveröffentlichte) Master-Thesis an der Fachhochschule Trier, 2012
Wendling, D.: Kombination von Gründach und Versickerung bei der naturnahen Regenwasserbewirtschaftung. (Unveröffentlichte) Bachelor-Thesis an der Fachhochschule Trier, 2010
Der Downloadbereich der Messprotokolle und N-Daten ist nur mit gültiger Nutzerkennung und Passwort abrufbar.
Sie verlassen die offizielle Website der Hochschule Trier